產品簡介
當前位置:橋梁伸縮縫>伸縮縫示意圖
GQF-C型、GQF-Z型、GQF-F型、GQF-L型伸縮縫
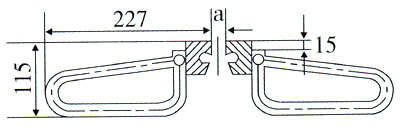
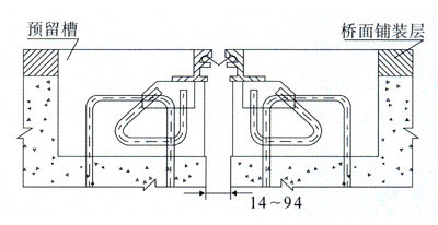
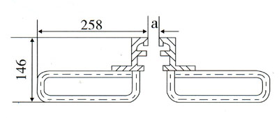
GQF-C 型、GQF-Z 型、GQF-F 型、GQF-L 型伸縮裝置適用于伸縮量80mm 以下的橋梁接縫,是采用熱軋整體成型的異型鋼材設計的橋梁伸縮裝置,由邊梁和橡膠密封帶組成的單縫式伸縮裝置,適用于伸縮量不大于80mm的公路橋梁伸縮縫。
| 0-80mm型各種規格總體尺寸與安裝示意圖 | ||
| 序號 | 伸縮裝置斷面圖 | 伸縮裝置安裝示意圖 |
| GQF-C1 | ![]() |
![]() |
| GQF-C2 | ![]() |
![]() |
| GQF-C3 | ![]() |
![]() |
| GQF-C4 | ![]() |
![]() |
| GQF-C5 | ![]() |
![]() |
| GQF-Z1 | ![]() |
![]() |
| GQF-Z2 | ![]() |
![]() |
| GQF-Z3 | ![]() |
![]() |
| GQF-Z4 | ![]() |
![]() |
| GQF-Z5 | ![]() |
![]() |
| GQF-Z6 | ![]() |
![]() |
| GQF-Z7 | ![]() |
![]() |

























