HDR高阻尼隔震橡膠支座按功能形式分為固定型隔震支座和滑動型隔震支座,固定型支座位移通過橡膠剪切變形來實現,橡膠的水平剪切能承受較大的水平力,按其連接結構又分為Ⅰ型、Ⅱ型兩種類型,通過高阻尼橡膠在水平方向的大位移剪切變形及滯回耗能實現減隔震功能。
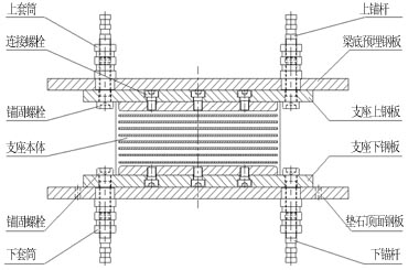
Ⅰ型——支座與墩、梁之間采用套筒連接,支座頂面、底面均設預埋鋼板,上、下支座板和套筒之間采用錨固螺栓連接,上、下預埋鋼板與套筒之間采用配合焊接。
HDR(Ⅰ)高阻尼隔震橡膠支座結構示意圖(固定型) |
![]() |
Ⅱ型——支座與墩、梁之間采用套筒連接,支座底面不設預埋鋼板,底鋼板和套筒之間采用錨固螺栓連接,上預埋板與頂鋼板之間采用卡榫連接,上預埋鋼板與套筒之間采用配合焊接。
HDR(Ⅱ)高阻尼隔震橡膠支座結構示意圖(固定型) |
![]() |
滑動型支座的產品結構示意圖如下:
HDR高阻尼隔震橡膠支座結構示意圖(滑動型) |
![]() |
支座代號
示例:
HDR(Ⅰ)-D900-G10/8-e168,表示:直徑為900mm,橡膠設計剪切模量1.06MPa,設計轉角為0.008rad,設計剪切位移量為±168mm的HDR(Ⅰ)圓形固定型高阻尼隔震橡膠支座;省略型號表示為:UUHDR(Ⅰ)-D900-G10UU。
HDR(Ⅱ)-350×400-G8/8-e56,表示:縱橋向尺寸為350mm、橫橋向尺寸為400mm,橡膠設計剪切模量0.80MPa,設計轉角為0.008rad,設計剪切位移量為±56mm的HDR(Ⅱ)矩形固定型高阻尼隔震橡膠支座;省略型號表示為:UUHDR(Ⅱ)-350×400-G8UU。
HDR-D300-H/8-e100,表示:直徑為300mm,設計轉角為0.008rad(橡膠設計剪切模量0.64MPa),主滑移方向設計位移量為±100mm的HDR圓形滑動型高阻尼隔震橡膠支座;省略型號表示為:UUHDR-D300-H/8UU。
HDR-350×400-H/8-e150,表示:縱橋向尺寸為350mm、橫橋向尺寸為400mm,設計轉角為0.008rad(橡膠設計剪切模量0.64MPa),主滑移方向設計位移量為±150mm的HDR矩形滑動型高阻尼隔震橡膠支座;省略型號表示為:UUHDR-350×400-H-e150UU。
本系列支座原則上本體的長邊沿橫橋向安裝,考慮到橋梁橫向尺寸可能受限,定制設計了矩形固定型專用系列(如HDR(Ⅰ/Ⅱ)-AB-G[Z] */ *),布置方式為支座本體的長邊沿縱橋向布置。








電話:0318-6825352 手機:13503185352 13363335352 聯系人:王經理 